VÁLVULA GAVETA AVK, FLANGEADA, NORMA EN., OS&Y, PN10/16
Ressaltos para by-pass, EN558/3, haste aço inox 420, parafusos A2, EPDM DN450 - 600
AVK Valvulas do Brasil
Rua Professora Aloysia Amparo, 440, Iporanga, Sorocaba, Brasil
Válvula gaveta para água e outros líquidos neutros até máx. 70°C
As válvulas gaveta AVK são projetadas com segurança integrada em todos os detalhes. A cunha é totalmente vulcanizada com o próprio composto de borracha EPDM aprovado para água potável da AVK, apresentando uma durabilidade excepcional devido à capacidade da borracha de recuperar sua forma original combinada com um processo de vulcanização de ligação dupla e um design de cunha robusto. Um sistema triplo de vedação de haste, haste em aço inox 420 e a proteção completa contra corrosão garantem a confiabilidade inigualável.
| Modelo/série 55/6A-002 | |
|---|---|
| Extremidades | Flangeada |
| Material | Ferro Dúctil |
| DN | DN450 - DN600 |
| PN | PN 16 |
| Direção de fechamento | Fechamento sentido horário |
Características
- Cunha e haste firmemente conectadas para evitar vibração
- Cunha e porca de cunha totalmente vulcanizadas em EPDM aprovado para água potável e equipadas com sapatas de cunha de poliamida que protegem a borracha e proporcionam baixo torque de operação
- Haste em aço inoxidável e porca em cunha de latão para alta resistência à corrosão
- Vedação da haste composta por três O-rings em série com compressão ajustável
- Junta da tampa redonda fixada em um recesso
- Parafusos do castelo de aço inoxidável A2-70 rebaixados circundados pela junta do castelo e selados com cola termofusível
- Revestimento em epóxi ligado por fusão azul RAL 5017 de 250µm (FBE)
- Instalação com haste horizontal ou vertical
- Preparado para by-pass
- A haste ascendente fornece uma indicação visual a distância da posição de abertura da válvula.
Downloads
Tabela de dados
| Referência AVK | DN mm |
Flange |
L mm |
HO mm |
HC mm |
H2 mm |
W mm |
W1 mm |
D1 mm |
G mm |
PesoTeórico kg |
|---|---|---|---|---|---|---|---|---|---|---|---|
| 55-450-6A-004000J | 450 | PN10 | 432 | 2253 | 1727 | 308 | 806 | 411 | TR55X12 | 500 | 536 |
| 55-450-6A-014000J | 450 | PN16 | 432 | 2253 | 1727 | 320 | 822 | 411 | TR55X12 | 500 | 584 |
| 55-500-6A-004000J | 500 | PN10 | 457 | 2276 | 1752 | 335 | 800 | 405 | TR55X12 | 500 | 550 |
| 55-500-6A-014000J | 500 | PN16 | 457 | 2276 | 1752 | 358 | 841 | 425 | TR55X12 | 500 | 614 |
| 55-600-6A-004000J | 600 | PN10 | 508 | 2547 | 1892 | 390 | 915 | 455 | TR55X12 | 700 | 745 |
| 55-600-6A-014000J | 600 | PN16 | 508 | 2547 | 1892 | 420 | 960 | 485 | TR55X12 | 700 | 844 |
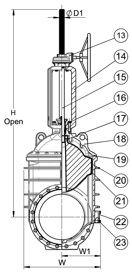
Componentes
| 1. | Corpo | Ferro fundido dúctil GJS-500-7 |
| 2. | Alma da cunha | Ferro fundido dúctil GJS-500-7 |
| 3. | Borracha da cunha | Borracha em EPDM |
| 4. | Porca da cunha | Latão CW724R |
| 5. | Pino elástico | Aço inoxidável 316L |
| 6. | O-ring | Borracha BUNA-N |
| 7. | Buchas | Latão CW602N (CZ132) |
| 8. | Preme | Latão CW602N (CZ132) |
| 9. | Arruela | Aço inoxidável A2-70 |
| 10. | Porca | Aço inoxidável A2-70 |
| 11. | Prisioneiro | Aço inoxidável A2-70 |
| 12. | Preme | Ferro Dúctil ASTM A536 65-45-12 |
| 13. | Redutor | Ferro fundido |
| 14. | Suporte da haste | Ferro fundido dúctil GJS-500-7 |
| 15. | Haste | Aço inoxidável 1.4021 |
| 16. | Parafuso | Aço inoxidável A2-70 |
| 17. | Pino | Aço inoxidável 316 |
| 18. | Tampa | Ferro fundido dúctil GJS-500-7 |
| 19. | Junta corpo/tampa | Borracha em EPDM |
| 20. | Guia da cunha | Latão CW508L |
| 21. | Sapata da Cunha | PA 6.6 |
| 22. | Tampão | Ferro fundido dúctil GJS-500-7 |
| 23. | O-ring | Borracha em EPDM |
Aprovações
- Teste hidráulico de acordo com a norma EN 1074-1 e 2 / EN 12266 |
- Teste de vedação: 1.1 x PN, Teste de corpo: 1.5 x PN
Normas
- Construção conforme EN1074-1 e 2
- Face a face das flanges conforme EN 558 Tabela 2 Série Básica 3
- Furação da flange conforme NBR7675